大型儿童舞台剧《大耳朵图图之细菌王国历险记》8月25日俏皮来袭

相关图片

张小丽

8215胡英俊and张小丽情侣头像05! 童年很爱的动画片!

大耳朵图图张小丽漫画同人_大耳朵图图张小丽与图图漫画_大耳朵图图

大耳朵图图朵朵妈 - 抖音

定格放映 | 初闻不知片中意,再看已是片中人

随机推荐

难怪电视剧里只有上半身镜头下移后都是观众看不了的尴尬场景

高清壁纸库涵盖多样化主题,满足不同用户需求,支持全面屏显示,每日

张曼玉经历三段感情一段婚姻,现在曼神更会如何去爱,祝幸福_女孩子

多啦爱梦文字壁纸抖音最火图片-卡通壁纸 - 壁纸之家

儿童画画本涂画本幼儿园涂色书儿童绘画本填色本简笔画画笔套装

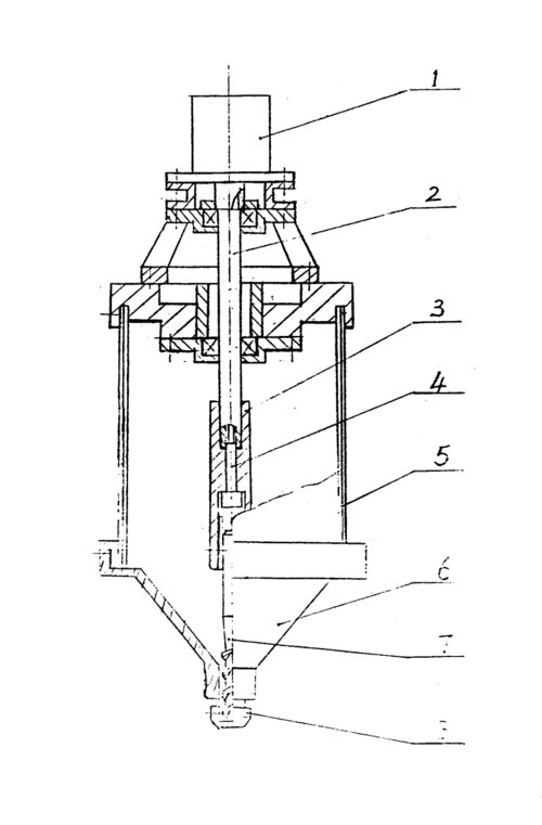
美国百特公司生产床旁血滤机

情人节玫瑰花精美壁纸_玫瑰花最美的见证

《记金华双龙洞》游览路线图