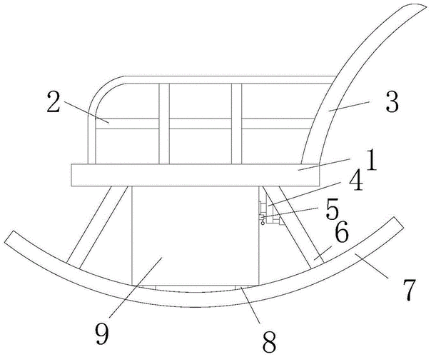
一种多功能摇椅的制作方法

相关图片

配合高脚椅的小摇椅的制作方法

一种便于拆装的不锈钢摇椅的制作方法

一种便于安装的摇椅制造技术

逸家伴侣摇摇椅躺椅大人折叠午休逍遥椅懒人午睡家用阳台休闲老人竹

魔友moyou简约摇摇椅躺椅孕妇小休闲椅懒人沙发单人阳台午睡逍遥椅

随机推荐

送女生什么礼物(女生生日礼物推荐-情人节礼物)-52线报网

96@贾静雯比昨天的雯雯更漂亮的只有今天的雯雯!

迪丽热巴早期生图照片来啦[欧耶]

发表了博文 1996笑傲江湖吕颂贤版mkv高清. 来自hezhen - 微博

和石景山科协委员一起,到首都牛奶科普馆和"灭绝动物公墓"看看

宁静:知三当三硬刚那英,与马景涛当街拥吻,后约会小16岁小鲜肉_乐嘉

四月份古装剧口碑悬殊大,7000万粉丝女顶流败给了1000万粉丝小花

布局带来一层层叠加错落的感觉花园一侧的三级大台阶最终也将摆满多肉