武汉自体脂肪全脸填充好不好_效果图_你难过什么自体脂肪全脸填充术后

相关图片

自体脂肪填充面部之后呀,看看对比效果太明显了哦我脸_圈子-新氧美容

今天是自体脂肪填充15天了 我来汇报一下我的恢复情况

沈阳自体脂肪全脸填充好不好_效果图_马海宁自体脂肪全脸填充术后第17

自体脂肪面部填充

深圳自体脂肪全脸填充好不好_效果图_林369自体脂肪全脸填充术后第5天

随机推荐

一组个性微信头像请签收

西游记有3人大闹天宫为何仅孙悟空被压五指山另外2人结局如何

一张图倒过来看吓死人40张不该存在的照片千万不要放大看的图片

胎位示意图(转)

双马尾可爱女生头像

在男女身高最受欢迎的排名中,178cm的男性和162cm的女性组合名列第一.

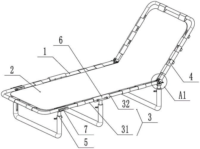
一种智能折叠躺椅的制作方法

学车