杨紫李现的亲爱的热爱的

相关图片

亲爱的热爱的 李现杨紫

因为一部剧爱上两个人童颜夫妇cp双向奔赴亲爱的热爱的杨紫李现

杨紫和李现真的好有cp感

原创亲爱的热爱的点燃夏日青春杨紫李现甜蜜追梦

亲爱的热爱的~李现~杨紫

随机推荐

9款女生大脸圆脸适合的发型,时尚又减龄,特别显脸小

梁朝伟最迷人最有特点的地方就是他的眼神了,梁朝伟是一位极具魅力的

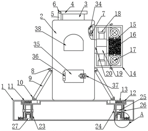
cn210656817u_一种秸秆,农林废弃物炭化处理的气化炉有效

我要 司普向

今日推文他这不是明摆着要白嫖boss吗

我能把好朋友做成有毒表情包斗图再也不怕谁了

演出介绍黄绮珊,很多人认识她是在《我是歌手》第一季的舞台上,她以一

肥肥沈殿霞