5 兆瓦核火箭发动机的原型机已经过测试,但在没有核燃料的情况下,它由

相关图片

美网友破防了!美国火箭发动机接连爆炸:中国火箭却造就世界第一

浅析液体火箭发动机推进剂喷注雾化与燃烧不稳定性上

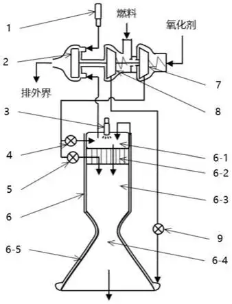
一种开式分级燃烧抽气循环液体火箭发动机的制作方法

火箭发动机推进剂喷注与燃烧不稳定性(中)

地外着陆反推火箭发动机发展史揭秘

随机推荐

tfboys#tfboys三人同行#tfboys十年之约不 - 抖音

刘亦菲创维全球品牌代言人##刘亦菲 高定##和刘亦菲一起逛展

动漫 卡通 漫画 头像 690_690

男头像霸气高冷漫画 帅气的炫酷男生头像 霸气 冷酷_男生动漫头像

小红书抖音直播间同款唯美背影女生姓氏头像微信卡通动漫头像设计

为什么韩国女生皮肤都水嫩光滑?这几种护肤方法,值得借鉴学习

kolon sport丨艺术体操女神张豆豆 用运动呈现温柔弧线

lisa穿短裙现身科切拉音乐节 身材傲人美腿吸睛!