亚马逊产品图折叠桌

相关图片

雷动多功能变形壁挂式折叠桌墙上抖音同款网红餐桌书架阳台置物架花架

北欧折叠桌餐桌家用小户型可伸缩折叠桌子多功能现代餐桌椅组合

户外实木蛋卷桌露营折叠桌烧烤桌椅便携桌椅家用餐桌户外桌椅

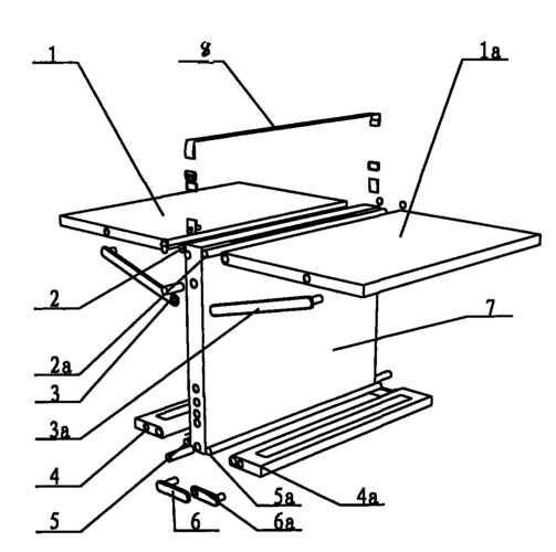
一种折叠桌

【天玄家具】床上用多功能懒人小床边桌折叠可移动升降旋转笔记本电脑

随机推荐

2021流行超a挂耳染不染你就out了

完整教程纸鹤风铃

最近封存了好久的fb和ins又刷起来了#ins #ins注册 #facebook #ins

炸鱼丸

少年派:同处一夜之后,钱三一对林妙妙的称呼竟然变了,谁发现了?

根据脸型选眼镜,看女明星的亲身示范. 根据脸型选对眼镜,颜值 - 抖音

175与163很合拍

春秋款军靴男特种兵真皮靴军鞋马丁靴男士作战靴钢头钢底男靴子潮