开端火了一批高压锅恐惧症患者出现了

相关图片

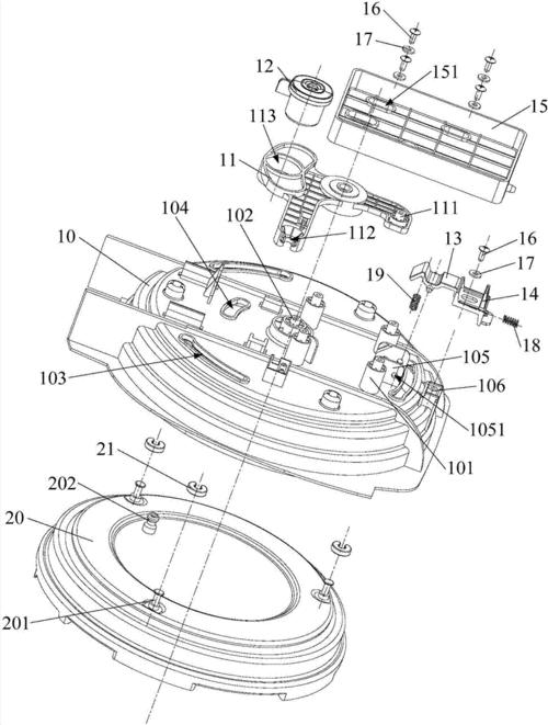
本申请涉及电饭煲技术领域,尤其涉及一种压力锅的锅盖组件及压力锅.

cn201091494y_一种电压力锅锅盖失效

本实用新型涉及压力控制技术领域,尤其涉及了一种高压锅锅盖.

适用苏泊尔电压力锅sy-/60yc8010e/50yc5210eq锅盖上盖组件

电压力锅原理ppt

随机推荐

刘诗诗产后体重90斤,曾透漏保持身材秘诀,有四种食物坚决不碰_减肥

李沁新角色造型曝光,当她穿上警服那一刻,网友:在我心上开一枪

回顾粉红女郎演员现状女主跌落神坛男配逆风翻盘

魔道祖师草木的陶笛乐谱,求帮助,呼叫道友,六孔十二孔都行

初中开始蹲着写作业,现在高二,然后就得了拇外翻(俗称大脚骨),这样算

记忆中的90年代校服

黄轩高清帅气头像精选

碰到一些影响到小孩健康的包皮疾病,如反复感染,包茎,可以选择手术