下翻式隐形折叠配件伸缩多功能餐书桌吧台柜连接家具五金导轨 黑色

相关图片

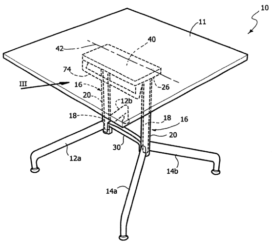
一种折叠桌的制作方法

北欧折叠桌餐桌家用小户型可伸缩折叠桌子多功能现代餐桌椅组合

一种可组装多功能折叠桌的制作方法

cn1846565a_嵌装式可折叠的桌子失效

一种双层折叠桌的制作方法

随机推荐

欧美非主流美女桌面壁纸

同样是驼峰鼻,为什么刘亦菲的驼峰鼻就很好看?

边伯贤动图gif橙光素材

董璇穿衣很时尚一身黑的穿搭look照样魅力四射高级又精致

那就这样吧吉他视频-封面

2021新年快乐带字图片

头像|简约清新风.#优质头像 #男生头像 #动漫头像 #原创 - 抖音

欧姆龙圆形防水接插件xs2w-d421-k81-f xs2f-d421-e80-f工业自动化