肥胖女人穿的胖妹妹260斤时尚钉珠卫衣裙240超大码女装300洋气显瘦

相关图片

大珺呀喂微胖大码法式复古洛丽塔小洋裙秋季新款胖妹妹减龄连衣裙

仙充充加肥加大女装宽松大码220斤夏季女装遮肚子上衣女胖妹妹mm200斤

150斤胖妹妹穿搭今天是大码辣妹

胖人胖妹30-40岁妇女遮肚子200斤加肥加大码女装连衣裙胖妹妹夏装200

胖妹妹专属连衣裙, 大号美女一样迷人

随机推荐

陈情令壁纸#肖战#魏无羡#蓝忘机#王一博 - 抖音

吴亦凡写真黑色卫衣圆寸头纹身抢镜

原创让陈可辛认错甜蜜蜜里这场张曼玉笑中带泪的哭戏好在哪里

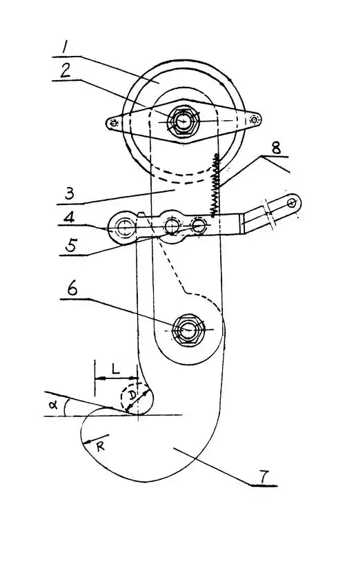
自动脱钩器

王者荣耀李白今天三周岁用哪个辅助才能跟得上青莲剑仙的节奏

清纯背包女孩背影简笔画.

教师节礼物女老师送老师恩难忘刻字水晶摆件

韩式中短发发型 好看的烫发 可以美半年91在南京烫发找#同旋