我的挂钩太好用啦!轻奢吸 - 抖音

相关图片

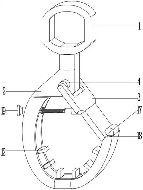
一种起重机用自锁挂钩

弹异常投放故障原因展开分析,依据产品机械结构原理和投放电路原理

> 救助艇筏两用释放钩,可吊式救生筏自动释放钩

一种用于吊装设备的自动脱钩机构的制作方法

一种吊装电力铁塔的高空自动脱钩装置的制作方法

随机推荐

博君一肖动漫图 - 堆糖,美图壁纸兴趣社区

繁星#凡兴点点#吴亦凡#张艺兴#kris#lay#kray

边伯贤男友视角边伯贤女友视角hi一起回家吧

刘恺威《跨界歌王3》第一期剧照图片_综艺_美桌图片库

《越狱》男主角温特沃斯·米勒wentworth miller 出柜,成万千g友梦中

脖子前倾矫正枕头加热敷理疗颈椎枕拉伸牵引器专用修复曲度变直反弓

工藤新一②(头像篇)

在电脑软件上打分高的名字就是好名字吗