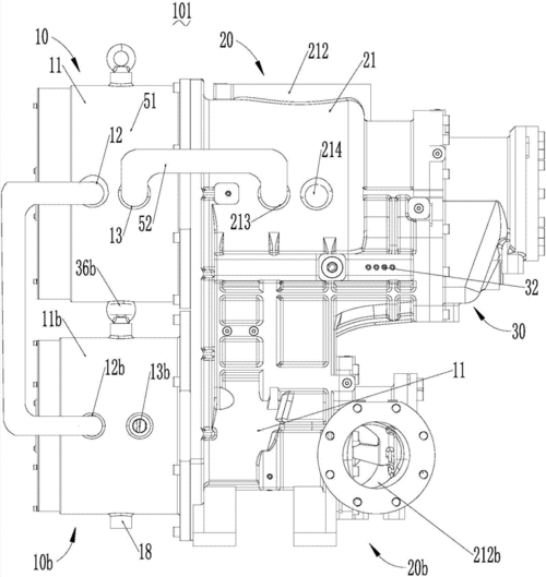
高效节能双级螺杆式空气压缩机制造技术

相关图片

空压机培训100课之010:容积式-双螺杆压缩机概述(一)

压机的结构 活塞式空压机 往复式空压机 螺旋式空压机 回转式(双螺杆)

双螺杆式空压机基础培训ppt

cn206582112u_双永磁双级螺杆压缩机失效

新型结构的双级螺杆压缩机

随机推荐

男生拿扇子头像高清不露头的男生拿扇子头像图片

动物简笔画彩色兔子动物图片简笔画彩色

视觉中国真是太牛了,这是我见过"最丑"的热巴,没有之一!

电视剧《因为遇见你》剧照图片桌面壁纸高清大图预览1920x1200_大陆

老虎长大后,为什么雄性会扩散到更远的地方,雌性却紧挨着母亲?

小清新日系唯美静物高清图片壁纸

李晓明国画金鱼鲤鱼跃龙门图片

《陪读妈妈》胡先煦母亲节祝福"梅婷妈妈"引关注