自制钢管躺椅尺寸图片

详细的躺椅制做图纸

图片尺寸550x379

商业级橡木木沙滩椅/躺椅

图片尺寸1000x1000

折叠躺椅的制作方法

图片尺寸959x1000

高品质躺椅 vip 3d 影院家庭座椅

图片尺寸1000x855

折叠躺椅成年人竹摇摇椅家用午睡凉椅老人休闲逍遥椅实木靠背椅子

图片尺寸400x400

厂家直销多功能摇椅办公室午休躺椅可折叠 多功能摇椅

图片尺寸750x625

沙滩椅 沙滩桌椅 游泳池躺椅床阳台折叠躺休闲沙滩躺椅

图片尺寸790x955

厂家直销摇椅摇摇椅午休折叠躺椅睡椅休闲成人逍遥椅懒人椅老人椅

图片尺寸790x997

一种折叠躺椅的制作方法

图片尺寸1000x782

乐符休闲摇躺椅

图片尺寸500x409

魔友moyou简约摇摇椅躺椅孕妇小休闲椅懒人沙发单人阳台午睡逍遥椅

图片尺寸1500x1920

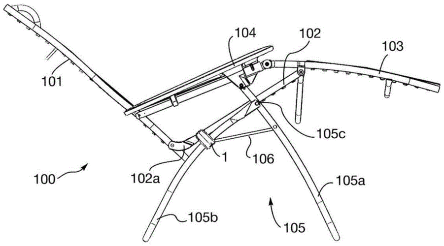
倾斜折叠躺椅

图片尺寸1000x555

一种折叠式躺椅制造技术

图片尺寸1000x875

午睡晒太阳老人椅的老年人可躺夏天摇摇椅 成人 躺椅 阳台收纳坐

图片尺寸661x800

ty319 新品上市海外仓现货伊姆斯躺椅办公室躺椅书房伊姆斯躺椅

图片尺寸1000x1144

跨境外实木折叠沙滩椅牛津帆布躺椅午休折叠沙滩椅厂家低价出售

图片尺寸750x1027

柯布西耶躺椅 cassina

图片尺寸750x347

anthar躺椅

图片尺寸1512x802

产品尺寸产地:意大利品牌:cassinalc4 pampas躺椅1/3

图片尺寸1024x491

伊姆斯躺椅 办公家具沙发外贸午休chaireames皮椅

图片尺寸790x1101