螺杆式压缩机结构图

螺杆式压缩机下面是螺杆式压缩机的结构示意图和工作原理图,供大家

图片尺寸640x420

展开全部 单螺杆空压机是空气压缩机的一种,属于螺杆空压机的一 ..

图片尺寸640x600

空压机培训100课之010:容积式-双螺杆压缩机概述(一)

图片尺寸580x318

螺杆式制冷压缩机的操作,故障及维修方法

图片尺寸1272x944

新型结构的双级螺杆压缩机

图片尺寸2166x2016

亨龙科普|一文带你解锁空调压缩机

图片尺寸499x602

螺杆压缩机的工作流程以及部分组件详解

图片尺寸829x541

五张图告诉你螺杆压缩机,活塞压缩机是什么?-制冷品牌

图片尺寸500x342

螺杆压缩机工作原理示意图

图片尺寸1222x1725

螺杆式制冷压缩机结构图螺杆式制冷压缩机的型号表示方法螺杆式制冷

图片尺寸540x526

双螺杆压缩机

图片尺寸500x333

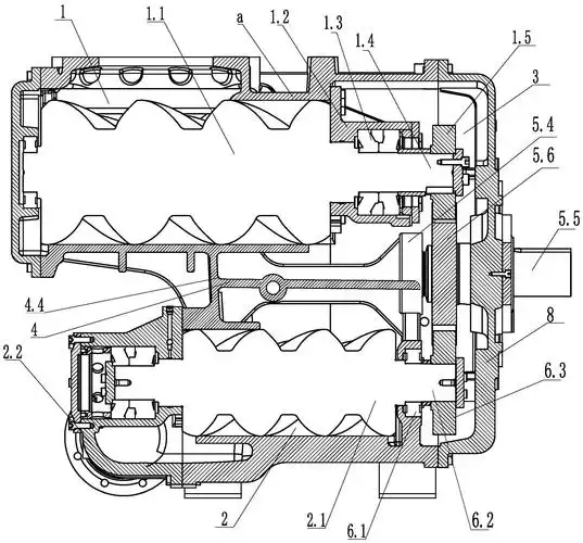
这是螺杆式压缩机的构造图

图片尺寸501x587

食品厂螺杆式压缩机

图片尺寸700x398

下图为比泽尔公司vsk行型全封闭螺杆式压缩机结构电动机配用功率十到

图片尺寸1920x1424

约克工业冷冻螺杆压缩机汇总拆分步骤(上)

图片尺寸686x494

螺杆压缩机常见故障总结大全!干货

图片尺寸640x362

螺杆压缩机漏油故障处理|甘肃冰海制冷设备工程有限公司|制冷设备

图片尺寸640x488

螺杆压缩机

图片尺寸2488x1597

螺杆式压缩机的基本结构及工作原理

图片尺寸1312x1252

螺杆压缩机四段式容调原理_控制_负载_活塞式

图片尺寸658x459