简易刹车机构运动简图

相对油刹更加复杂,而且占用的空间较大,而且气刹反应很迅速,刹车粗暴

图片尺寸520x372

第一章平面机构的运动简图及自由度习题讲解doc4页

图片尺寸792x1120

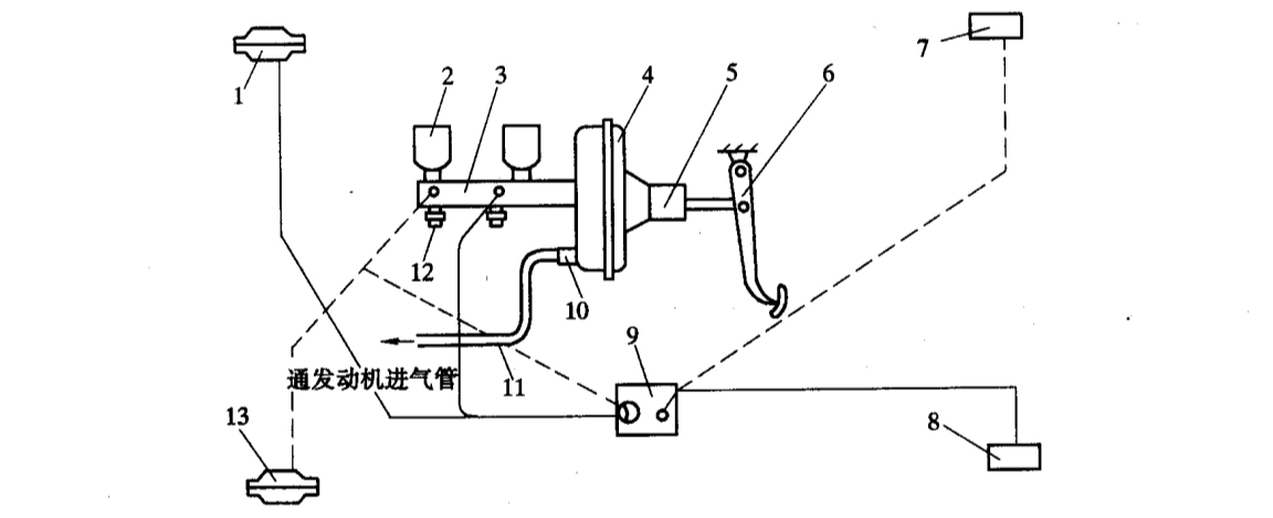
(汽车刹车系统工作原理图)

图片尺寸800x533

"楔式制动器"一种夹缝中生存的刹车方式介绍

图片尺寸448x399

更换刹车软管要同步更换刹车油吗?

图片尺寸1310x710

安全驾驶第一步 汽车制动系统介绍

图片尺寸640x400

cn2376484y_洗衣机双向刹车机构失效

图片尺寸941x793

毕业论文汽车制动系统故障诊断[1]-2

图片尺寸1152x469

制动系统的蝴蝶效应

图片尺寸1430x615

"鼓刹&盘刹,谁才是刹车界的老大"

图片尺寸640x427

机械装配标准与方法

图片尺寸1000x595

刹车系统有哪些组成刹车系统的组成

图片尺寸398x264

汽车刹车系统

图片尺寸893x368

刹车会失灵!其中6成是新能源

图片尺寸1066x637

气压式:即用气压驱动刹车分泵工作1.

图片尺寸940x540

合肥工业大学合肥工业大学机械原理2004考研试题研究生

图片尺寸539x430

汽车的制动系统

图片尺寸700x474

4. 刹车系统

图片尺寸1080x531

二,画出图示制动机构的运动简图,计算其自由度,并说明其省力的原理.

图片尺寸540x560

制动器机构运动简图

图片尺寸353x272