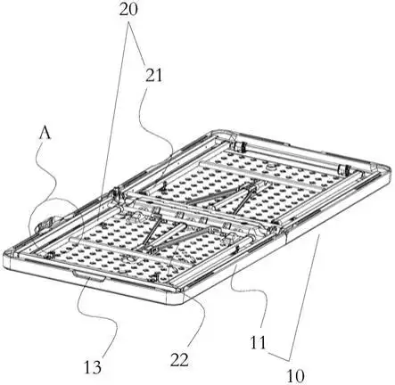
自制折叠桌子构造图

一种伸缩折叠餐桌

图片尺寸1917x1529

一种折叠桌的制作方法

图片尺寸1000x882

一种折叠桌

图片尺寸1000x695

一种操作方便的升降式折叠桌的制作方法

图片尺寸1000x751

一种折叠桌的制作方法

图片尺寸443x432

一种太阳能折叠桌的制作方法

图片尺寸1000x771

本技术涉及一种桌子,尤其是涉及一种高度可调折叠桌.背景技术:2.

图片尺寸443x426

cn2346284y_折叠桌失效

图片尺寸926x827

下翻折叠桌的制作方法

图片尺寸409x414

一种升降折叠桌的制作方法

图片尺寸1000x927

背景技术:桌子是人们日常生活中必不可少的生活家居之一,但是现有的

图片尺寸1000x673

为了在桌子不使用时而不至于占较多的空间,市面上出现了多种可折叠

图片尺寸444x361

一种折叠桌的制作方法

图片尺寸443x364

一种双层折叠桌的制作方法

图片尺寸1000x997

cn209499021u_一种太阳能折叠桌有效

图片尺寸1802x1387

目前生活中的桌子多为结构固定的形式,整体的结构功能单一,尤其是在

图片尺寸443x389

西利尹家用简易折叠桌户外餐桌摆摊桌餐桌学习桌茶桌麻将桌小户型吃饭

图片尺寸750x861

一种折叠桌及可升降折叠桌的制作方法

图片尺寸852x1000

cn211703812u_一种折叠桌

图片尺寸1808x1726

支撑管,下支腿和圆孔,解决了现有的桌子不方便携带的问题,该折叠桌在

图片尺寸1000x926