矿用防坠脱钩器矿用拉绳脱钩器自动脱钩装置的原理图和结构图

相关图片

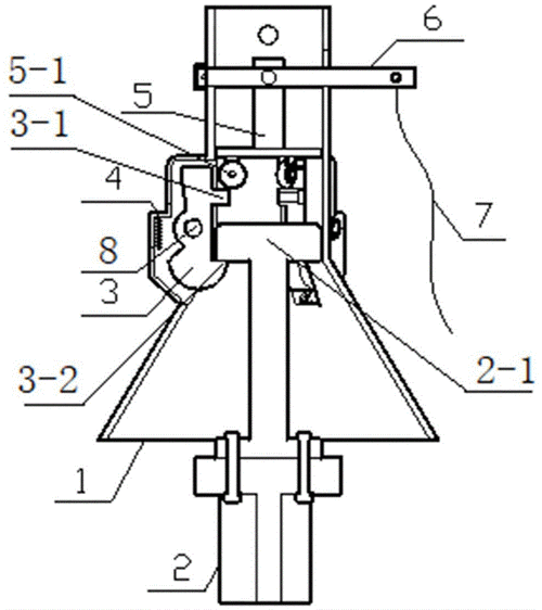
拉绳式快速脱钩器

一种强夯机自动挂脱钩装置的制作方法

起重设备及强夯机自动脱钩器

拉绳式快速脱钩器

拉绳式快速脱钩器

随机推荐

肖战工作室九宫格营业#一大早就被肖战的九宫格帅醒了,营业得刚刚好

脸上的两个小酒窝是最让大家印象深刻的,林心如能与自己相交多年的

张天爱测身高旧照曝光穿吊带背心扎丸子头侧身状态引发争议

超级学校霸王:张学友各个学科都精通,还能教学生做扫把,真全能

佛字画佛光普照墙贴画佛堂墙壁装饰画佛堂寺庙背景墙装饰画荷花图

年度总冠军,"音乐说书人"张磊受邀参加《2021中国好声音十周年浙江站

绿色裤子配什么颜色上衣最好看街拍达人分享的13种搭配方式

近日,北京文化艺术基金2020年度资助项目,北京青年报社主办的"青山