电动机连续运行,停止 a qs fu b c 停车 sb1 按钮 起动 按钮 km sb2

相关图片

1外壳三相电动机外壳包括机座端盖轴承盖接线盒及

如何利用接触器实现三相交流电机的启停解决方案华强电子网

一处启动与两处停止的电动机控制电路

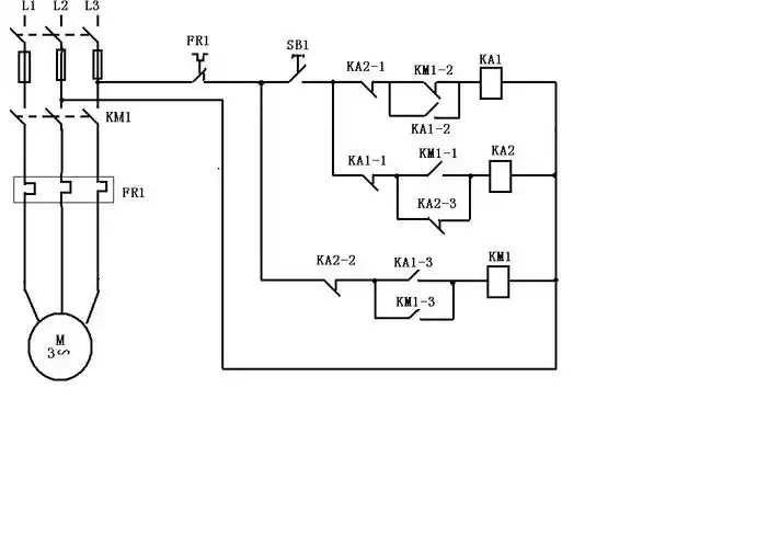
两台电动机启停控制的接线图

一个启动按钮,一个停止按钮,控制三相电机,怎么接线?

随机推荐

精选动漫美女唯美电脑锁屏壁纸高清大图预览1920x1080_卡通动漫下载

《生日快乐歌》/尤克里里新手指弹谱 看到很多同学说想要更简单一些的

杨紫还是穿裙子好看,穿牛仔裤略显胖!

亲爹不要继父宠上天,纪凌尘不娶现任真富豪,36岁阚清

穿杏色西装配阔腿裤的朱丹气场高级齐肩短发超加分气质优雅

胡先煦图片胡先煦写真图片

梅婷养他6年,李小冉害他被捅数刀,如今55岁娶小15岁娇妻好幸福

蒜蓉粉丝娃娃菜好吃到根本停不下来