弹异常投放故障原因展开分析,依据产品机械结构原理和投放电路原理

相关图片

可自动控制开闭的电动挂钩

一种停车场升降设备安全挂钩

保证火车运行的高速与安全令其行走时不致滑落可将两截火车厢自动勾连

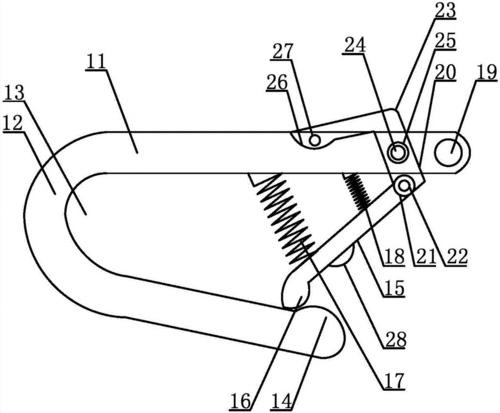
一种自锁式挂钩制造技术

我的挂钩太好用啦!轻奢吸 - 抖音

随机推荐

宋凯旋欢乐颂 弋阳龟峰景区_千年_小时_平台

《聊斋志异》婴宁秋蓉一个比一个美, 刘品言是来搞笑的吗

「鸡尖」

这五位短发女星,颜值都是棒棒的,气质更不用说,演技也在线,谁是你心中

范丞丞,卡通头像,壁纸

我在看书什么书遇到你我愿赌服输土味表情包撩妹撩汉表情

可爱的宠物狗-哈士奇 - 忘悠微摄影 - 图虫

发售了画集插画图片壁纸