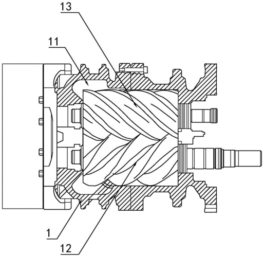
一种双螺杆压缩机的制作方法

相关图片

无油双螺杆压缩机技术

复盛双螺杆空压机运行原理图

一种双螺杆压缩机

移动式螺杆空压机技术工艺发展趋势分析

双螺杆式空压机基础培训ppt

随机推荐

【图】梅艳芳尸体怎么处理呢? 小编为你揭秘她死亡的真正原因

麦玲玲2021年属龙,蛇,马生肖运程|财运/事业/感情姻缘/健康全面睇:肖

说好不哭钢琴谱简易版-周杰伦-c调-虫虫钢琴

小蜗牛马克笔手绘卡通儿童画简笔画过程

狐狸女孩壁纸1024x600分辨率下载,狐狸女孩壁纸,高清图片,壁纸,动漫

巨兵长城传:冰流身负重伤,没有形元根本抵挡不住恐兽的攻击

不开心的情绪背影图片:除他之外 谁可相依

梁祝钢琴琴谱双手简谱电子版独奏何占豪陈钢数字乐器软件